XS4 EU Security


Pametni, sigurni, inovativni i jednostavni za instalaciju, XS4 elektronski kompleti ne zahtevaju čvrsto ožičenje i pružaju potpuno bežično umreženo rešenje za elektronsko zaključavanje sa širokim spektrom funkcija. Asortiman je posebno dizajniran da stane na većinu standardnih vrata i radi sa većinom skandinavskih, evropskih i ANSI ugradnih brava.

Sigurnosni model SALTO XS4 idealan je izbor za upotrebu na vratima gde je potreban viši nivo sigurnosne zaštite, kao što su spoljna vrata, glavni ulazi i visoko sigurnosni otvori. Čvrsta konstrukcija otporna na vandale štiti ovaj niz od napada i neovlašćenog ulaska bez gubitka fleksibilnosti ili kontrole.

Karakteristike

• Jednostavna ugradnja je moguća na bilo koju vrstu vrata, uključujući i ona sa uskim okvirima.
• Telo i rešetka od čelika.
• Opcija elektronske privatnosti.
• Dopunske šupljine bez čitača na raspolaganju za održavanje estetike vrata koja ne treba da se kontrolišu.

ID tehnologije

• MIFARE® (DESFire EV1, Plus, Ultralight C, Classic - ISO/IEC 14443).
• NFC.
• Picopass unutra.
• LEGIC Prime.
• HID iCLASS®.
• i-Button.

Platforma

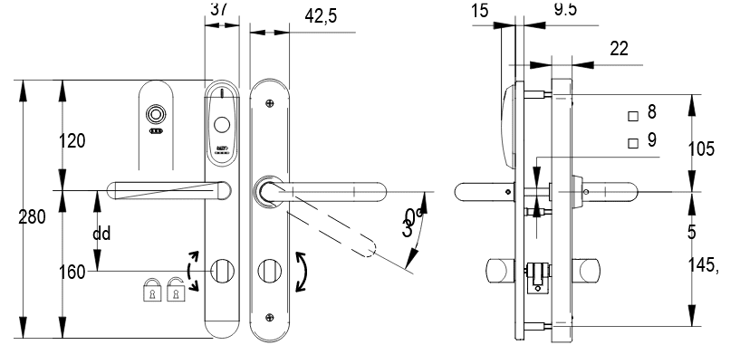
Tehnički crtež

Boja čitača

Krajnje boje

Sertifikati

IP 46 : Spoljni izgled.